Манометры показывающие ДМГ-60 предназначены для измерения избыточного давления воздуха и газов, не проявляющих агрессивного воздействия на материалы конструкции прибора.
По параметрам устойчивости к внешним климатическим воздействиям (температуре и влажности) манометры соответствуют категории С4 согласно ГОСТ Р 52931-2008 и изготавливаются в исполнении У, что соответствует категории размещения 3 по ГОСТ 15150-69.
Приборы рассчитаны на эксплуатацию в условиях температур от −50 до +60°C и при относительной влажности воздуха до 98 % при температуре 35°C и ниже — при условии отсутствия конденсации влаги.
Верхнее значение диапазона показаний, kPa: 6; 10; 40 1.2.2
Класс точности: 1,5 и 2,5 1.2.3
Диапазон измерений манометров: от 0 до 75%
Исполнение по устойчивости к внешним вибрационным воздействиям: N3 ГОСТ Р 52931-2008
Степень защиты от воздействия окружающей среды: IР40 ГОСТ 14254-2015
Масса, кг, не более: 0,2

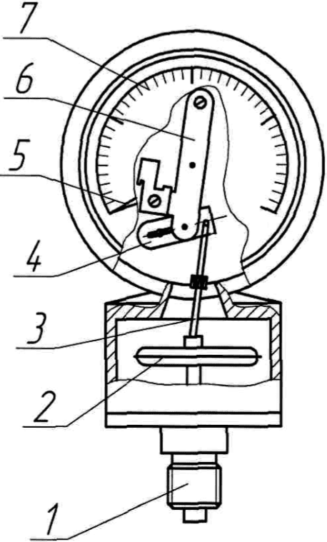
1 — штуцер; 2 — мембранная коробка; 3 — тяга; 4 — хвостовик; 5 — стрелка; 6 — трибко-секторный механизм; 7 — циферблат
Принцип работы манометров основан на уравновешивании измеряемого давления с усилием упругой деформации чувствительного элемента — мембранной коробки или мембранного блока (2).
Давление поступает во внутреннюю полость через штуцер (1) и воздействует на мембрану, вызывая её прогиб. Это механическое усилие передаётся через тягу (3) на трибкосекторный механизм (6), который преобразует поступательное движение в поворотное.
На ось трибки установлена стрелка (5), указывающая текущее значение давления на шкале циферблата (7).
Настройка диапазона перемещения стрелки осуществляется регулировкой положения хвостовика сектора (4), а для обеспечения линейности показаний корректируется длина тяги.

При заказе ДМГ-60 необходимо указать:
Пример заказа манометров показывающих ДМГ-60
Пример записи манометров газовых (ДМГ-60) при их заказе и в документации другой продукции, в которой они могут быть применены: